服务管理
录入服务管理基本信息
简介:该模块主要是维护第三方系统提供的
restFul协议接口信息,将对应传递的“请求参数”和“返回格式”进行配置化,从而有利其他模块使用,达到同个接口信息只需配置一次即可!(此功能配置针对接口开发人员进行使用!)
1、基本配置
首先登录系统,选择【系统管理】-【服务管理】菜单,
在左树根目录中,右键单击“添加”按钮,系统自动进入服务接口添加页面,根据所要求的信息输入相关信息,如下图:

2、请求参数配置
说明:缓存数据主要是由前置事件服务解析后写入缓存中的内容
缓存变量规则:
{{cache:[服务标识].[属性名]}}
例子:{{cache:dl.data}},填写信息细节说明如下:
服务标识中的“dl”信息,来源“登陆”接口中的“标识”信息一致,属性名对应下图红框中信息一致,如下图所示:

脚本变量规则说明
例子2:获取流程定义管理绑定表单,在“服务节点”使用时,获取表单变量信息:
{{groovy:qjblc.get("mingZi")}},如下图所示:
注意:
qjblc.get("mingZi")的信息获取是来源【流程定义管理】-【事件设置】获取表单变量,如下图:使用
Groovy脚本可以调用后端类方法;可以填写在“值/表达式”中使用,也可以在手输参数中使用(参考自定义参数说明)
启动流程后,触发流程变量后,创建的数据包含流程名字值
自定义参数规则说明
自定义参数规则:
{{params:[属性名]}}例子:
{{params:state}}
params是请求时在服务参数中设置
{
"bodyType": "json",
"bodyData": {
"parameters": [],
"requestPage": {
"pageNo": 1,
"limit": "{{params:limit}}" //调用params中的属性名为“limit”的值
},
"sorts": []
},
"params": {
"limit": 3 // 在params中定义了属性“limit”,值为“3”
},
"headers": {},
"querys": {}
}在“组织列表(分页)”执行手输参数,输入上述json字符串进行执行,得到如下结果;当不能使用脚本变量获取动态值时,可以使用自定义参数进行获取。

其他参数说明
{
"bodyType": "json", // 可填写的值为 json/form/raw/file
"bodyData": { // 指请求体中的数据
"username": "admin",
"password": "1"
},
"headers": {}, // 请求头数据
"querys": {}, // URL中的请求参数
"params": {} // 自定义参数
}
值参数说明

如上图所示,
is_permanent中的值/表达式中需要传数字0,格式需要按照{{value:[属性值]:[属性值类型]}}格式填写,属性值类型为字符串类型时,可直接填写属性值,无需按照该格式。
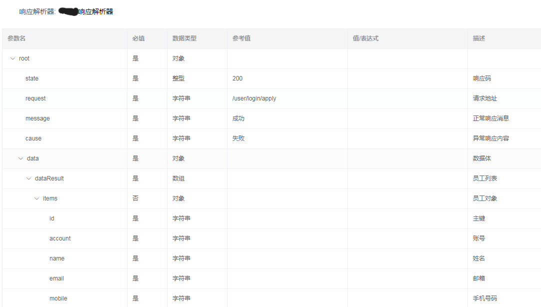
3、返回数据设置

温馨说明:目前返回格式根据现有系统提供接口返回格式进行默认解析,如果用户有不同格式解析,需要在响应解析器开发自有的格式解析器代码!
例子: 根据姓名查询员工基本信息
请求参数配置,如下图:

返回数据设置,如下图:
参数名:对应接口返回格式信息匹配一致。
点击保存按钮
当信息都填写完毕后,点击右上角”保存”按钮,录入服务接口信息完毕,如下图:

最后编辑:测试人员 更新时间:2026-03-19 17:36



